核心提示:新浪科技讯11月21日上午消息,天眼查知识产权信息显示,近日,珠海格力电器股份有限公司申请注册1枚“蒙面女王”商标,国际分类为医疗器械,当前商标状态为等待实质审查。此前,...
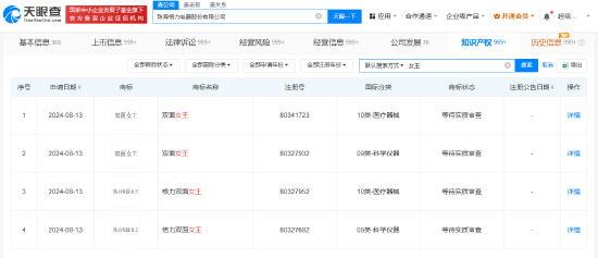
新浪科技讯 11月21日上午消息,天眼查知识产权信息显示,近日,珠海格力电器股份有限公司申请注册1枚“蒙面女王”商标,国际分类为医疗器械,当前商标状态为等待实质审查。此前,该公司曾申请注册“双面女王”“格力双面女王”商标。(罗宁)


新浪科技讯 11月21日上午消息,天眼查知识产权信息显示,近日,珠海格力电器股份有限公司申请注册1枚“蒙面女王”商标,国际分类为医疗器械,当前商标状态为等待实质审查。此前,该公司曾申请注册“双面女王”“格力双面女王”商标。(罗宁)

